大氣污染環境監測儀
- 產品型號
- TH-WQX12
- 產品品牌
- 云境天合

聯系人:李經理
聯系電話:15666887396
QQ:2248893324
公司地址:山東省濰坊市高新區光電路155號光電產業加速器
一、大氣污染環境監測儀產品簡介
山東天合環境科技有限公司作為專業研發生產銷售微型氣象儀的企業,一直致力于微型氣象儀和氣象環境解決方案推廣應用。具有完整的生產鏈、實力雄厚的技術團隊和全面的營銷團隊,我們研發生產的超聲波風速風向儀、五要素微氣象儀、六要素微氣象儀和小型自動氣象站等氣象產品,已廣泛應用到氣象監測、城市環境監測、風力發電、航海船舶、航空機場、橋梁隧道等領域,客戶遍布全國各地,并取得了良好的社會效益和經濟效益。
與傳統的微型氣象儀相比,我司產品克服了對高精度計時器的需求,避免了因傳感器啟動延時、解調電路延時、溫度變化而造成的測量不準問題。
TH-WQX12型十二要素微氣象儀也叫大氣污染環境監測儀是山東天合環境科技有限公司針對目前環保形式日益嚴峻的情況下研發的針對PM2.5、PM10、CO、SO2、NO2、O3六項污染物參數以及空氣溫度、相對濕度、風速、風向、大氣壓力以及降雨量共計12項參數進行監測的高集成度儀器。功能主要是對空氣中的常規污染因子和氣象輔助參數進行24小時連續在線的監測,將分析出的數據提供給環保局作為空氣質量好壞參考,并輔助環保決策。另外,可選配硫化氫、揮發性有機污染物、日照輻射、噪聲等。
TH-WQX12型大氣污染環境監測儀可以適用于城市網格化環境監測控、智慧路燈、景區環境監測、工廠或礦場、建筑工地(工地揚塵監測)、城市道路、高速公路、公共場所等涉空氣質量監測的場所。
二、大氣污染環境監測儀產品特點
1、頂蓋隱藏式超聲波探頭,避免雨雪堆積的干擾,避免自然風遮擋
2、原理為發射連續變頻超聲波信號,通過測量相對相位來檢測風速風向
3、PM2.5、PM10、CO、SO2、NO2、O3、溫度、濕度、風速、風向、大氣壓力、降雨量十二要素一體式
4、采用先進的傳感技術,實時測量,無啟動風速☆
5、抗干擾能力強,具有看門狗電路,自動復位功能,保證系統穩定運行
6、高集成度,無移動部件,零磨損
7、免維護,無需現場校準
8、采用ASA工程塑料室外應用常年不變色
9、產品設計輸出信號標配為RS485通訊接口(MODBUS協議);可選配232、USB、以太網接口,支持數據實時讀取☆
10、可選配無線傳輸模塊,最小傳輸間隔1分鐘
11、探頭為卡扣式設計,解決了運輸、安裝過程松動不準的問題☆
三、大氣污染環境監測儀技術參數
1)風速:0~60m/s(±0.1m/s);
2)風向:0~360°(±1°);
3)空氣溫度:-40℃~85℃(±0.3℃);
4)空氣濕度:0~100%RH(±3%RH);
5)大氣壓力:300hPa~1100hPa(±0.02hPa);
6)PM2.5:0-1000ug/m3(±15%)
7)PM10:0-1000ug/m3(±15%)
8)光學雨量:(≤±4%)
9)一氧化碳:0-10ppm(±1.5%F.S)
10)二氧化硫:0-5ppm(±1.5%F.S)
11)二氧化氮:0-5ppm(±1.5%F.S)
12)臭氧:0-5ppm(±1.5%F.S)
13)生產企業具有ISO9001質量管理體系認證、計算機軟件注冊證書
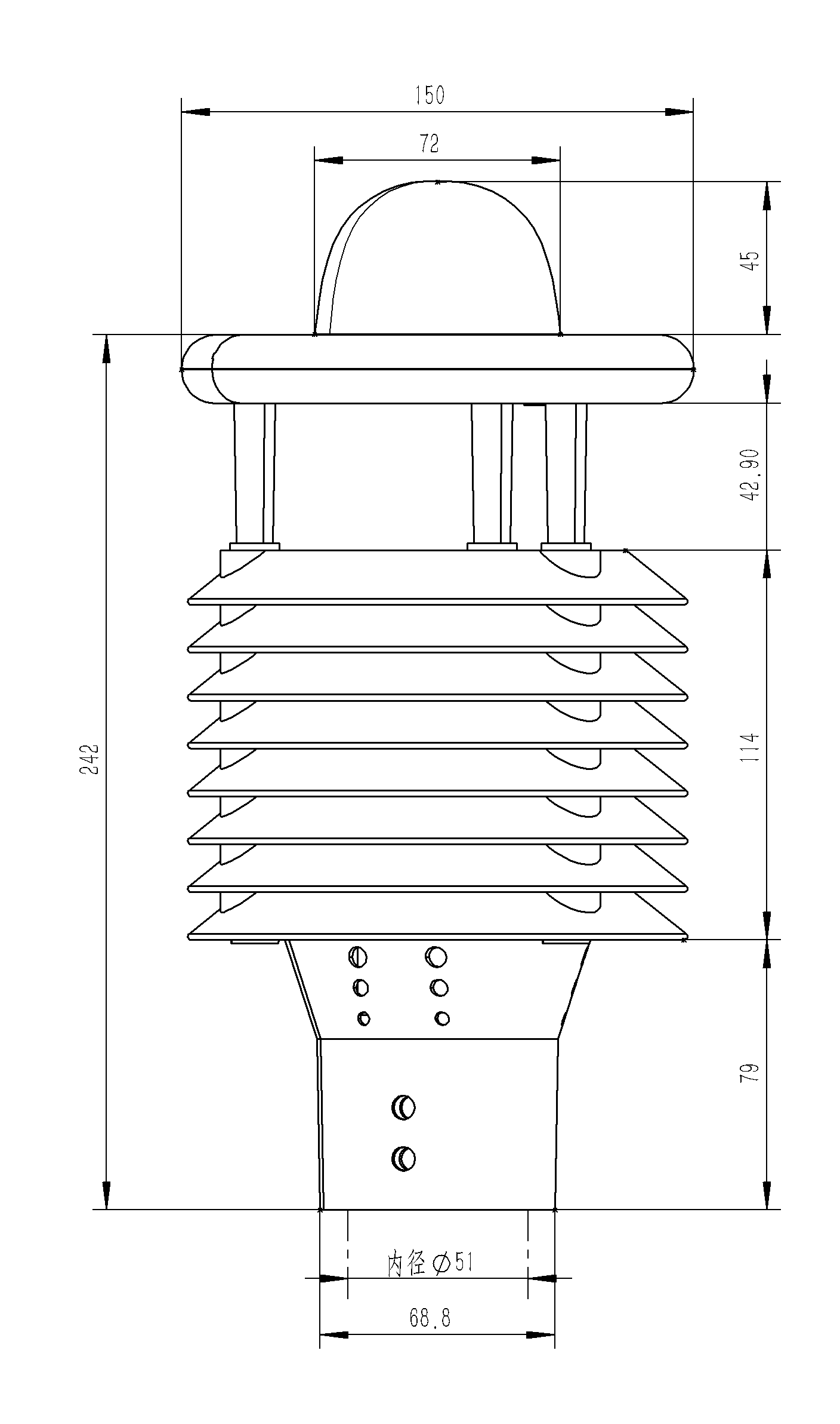
四、大氣污染環境監測儀產品尺寸圖

五、大氣污染環境監測儀產品結構圖
1、光學雨量
2、控制電路
3、指北箭頭
4、超聲波探頭
5、百葉箱
6、溫度、濕度、大氣壓力PM2.5/PM10/CO/NO2/SO2/O3)檢測位置
7、法蘭轉換頭
※此產品可選配電子羅盤功能
六、大氣污染環境監測儀產品接線定義

定義 | 備注 | |
VCC | 電源正 | DC12V |
GND | 電源地 | |
485A | RS485A | |
485B | RS485B |
部分地區由于地形復雜、溝壑多、土層薄、保水保肥能力差,降雨產生的徑流迅速泄漏,沖刷土壤,雨后容易干旱,作物產量低而不穩定。因此,必須采取工程措施建設高標準梯田。為了更好地攔截雨水,一般采用溝渠種植技術。而降雨對現在農業的發展是很重要的,使用雷達雨量計對降雨進行實時監測。雷達雨量計比起以往的降雨監測設
強對流天氣是夏季最常見的災害性天氣,具有發生突然、移動快、天氣劇烈等特點。強對流天氣空間規模小,但破壞力強,持續時間短,容易引起局部內澇、冰雹災害和雷擊事件,損壞作物和農業設施,嚴重影響農業生產。所以在野外環境下會使用小型氣象站對農業氣象進行監測,對自然災害進行預警。山東天合環境小型氣象站設備是一款
光伏自動氣象站設備是現在光伏產業發展所需的一款監測設備。從國家安全的角度來看,能源安全和糧食安全是一個國家穩定發展的基石。中國富煤、貧油、少氣的資源屬性決定了中國必須開發新能源,才能為能源安全提供安全鎖。而隨著傳統能源的不斷利用,清潔能源的開采利用越發重要,光伏產業不斷發展,光伏自動氣象站也在不斷應
引發森林大火的人為原因包括,生產性火源,如農業火源、林牧業生產用火、林副業生產用火、工礦運輸生產用火等;非生產性火源如野外炊煙等、做飯、燒紙、加熱等;而故意縱火如燃燒干草、燃放鞭炮、禮花等。這些都是引發森林火災的人為原因,而自然原因也是很多的,所以,為了預防森林大火的發生,我們需要使用森林防火氣象站。
水文實時在線監測系統是目前對流域內的水文進行實時監測的設備,防洪工程中廣泛采取的重要措施之一是建設水庫。在防洪渠上游河道建立水庫可以儲存洪水,通過水庫可以阻止洪水,進一步削弱洪水到達下游的流量,減少洪水造成的損失。但是水庫容易受自然因素影響,安裝水文監測設備是對水庫安全監測的重要設備。帶沉淀物的水流
熒光定量PCR檢測儀是一款在醫學診斷、基因工程、生物學研究等領域,非常有效的分子生物工具。在水產病毒檢測中有廣泛應用,診斷如蝦白斑、黃頭病毒、血細胞虹彩病毒、羅湖病毒、錦鯉皰疹病毒等疾病。黃頭病可在3-5天內引起100%的死亡率,通常發生在養殖對蝦50-70天之間,特別是在養殖密度高的池塘中。蝦苗是養殖成功的決定性
15666887396
