負氧離子傳感器
- 產品型號
- TH-WQX5B
- 產品品牌
- 云境天合

聯系人:李經理
聯系電話:15666887396
QQ:2248893324
公司地址:山東省濰坊市高新區光電路155號光電產業加速器
一、負氧離子傳感器產品簡介
山東天合環境科技有限公司作為專業研發生產銷售微型氣象儀的企業,一直致力于微型氣象儀和氣象環境解決方案推廣應用。具有完整的生產鏈、實力雄厚的技術團隊和全面的營銷團隊,我們研發生產的超聲波風速風向儀、五要素微氣象儀、六要素微氣象儀和小型自動氣象站等氣象產品,已廣泛應用到氣象監測、城市環境監測、風力發電、航海船舶、航空機場、橋梁隧道等領域,客戶遍布全國各地,并取得了良好的社會效益和經濟效益。
TH-WQX5B型負氧離子傳感器創新性地將負氧離子、空氣溫度、濕度、PM2.5、PM10等氣象要素通過一個高集成度結構來實現,可實現戶外氣象參數24小時連續在線監測,通過數字量通訊接口將五項參數一次性輸出給用戶。
二、負氧離子傳感器產品特點
1、抗干擾能力強,具有看門狗電路,自動復位功能,保證系統穩定運行
2、高集成度,無移動部件,零磨損
3、免維護,無需現場校準
4、采用ASA工程塑料室外應用常年不變色
5、產品設計輸出信號標配為RS485通訊接口(MODBUS協議);可選配232、USB、以太網接口,支持數據實時讀取☆
6、可選配無線傳輸模塊,最小傳輸間隔1分鐘
7、探頭為卡扣式設計,解決了運輸、安裝過程松動不準的問題☆
三、負氧離子傳感器技術參數
1)負氧離子:0~10萬個/cm3,(讀數±10%;離子遷移率≤±20%);
2)空氣溫度:-40℃~85℃(±0.3℃);
3)空氣濕度:0~100%RH(±2%RH);
4)PM2.5:0-1000ug/m3(±15%)
5)PM10:0-1000ug/m3(±15%)
6)生產企業具有ISO質量管理體系、環境管理體系和職業健康管理體系認證☆
7)生產企業具有知識產權管理體系認證證書和計算機軟件注冊證書☆
8)生產企業為3A級信用企業☆
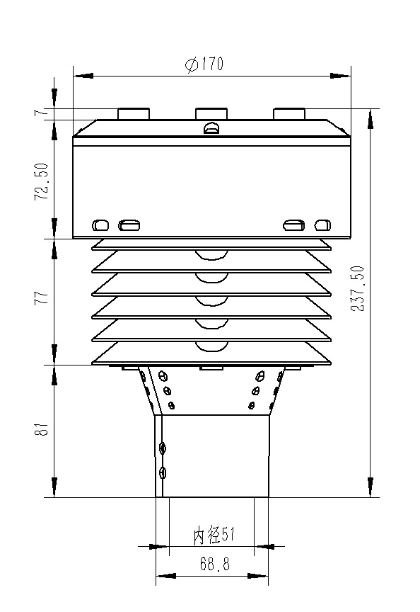
四、負氧離子傳感器產品尺寸圖

五、負氧離子傳感器產品結構圖

六、負氧離子傳感器產品接線定義
定義 | 備注 | |
VCC | 電源正 | DC12V |
GND | 電源地 | |
485A | RS485A | |
485B | RS485B |
室外小型氣象站是一種自動氣象觀測技術專業系統軟件設備,可以在無人區域自動工作,因此使用自動氣象站,可為相關財政部提供無法進入或不適合定居區域的觀測站材料,提高觀測站網絡相對密度,提供更全面的氣象觀測材料。建設小型氣象站可以提高觀測站網的相對密度,提高我們對一些區域的氣象監測。室外小型氣象站可以監測哪
微型空氣質量監測儀是一款便攜式的氣象監測設備,是山東云境天合針對應急氣象短期監測或移動氣象監測而設計生產的一款氣象要素實時監測設備。光化學煙霧是一種淺藍色煙霧,屬于大氣中的二次污染物,而這些大氣污染物嚴重危害生態環境,影響居民身體健康,所以對大氣污染的監測是治理大氣污染的前提。對于青藏高原、海洋等一
晚上,看月亮的顏色,或綠色或紅色,第二天就可能有雷雨。月亮周圍有白云形成圓光,或大如車輪(月暈),主來日風。所謂的"日暈則雨、月暈則風,哪里有缺、何方有風",又說"月暈而風,基潤而雨",基潤者,即柱腳石有水滴滲出,主不日有雨。這都是對氣象進行觀測的總結,但是隨著現在科技的發展,就可以使
2015年8月4日,國家安全監管總局印發了《油氣罐區防火防爆十條規定》,共275字,規定了油氣罐區在日常管理、安全設施、特殊作業、人員資質等方面的禁止事項。罐區安全一直都是我們關注的事情,罐區一旦發生意外,往往就是連鎖反應。罐區氣象方面也是需要時刻監測的,罐區氣象站要防爆,才能在罐區更好的使用。罐區小型防爆氣
近年來,氣象站不再是氣象局的專屬,越來越多的地方開始使用氣象站,氣象站的種類越來越多,其中自動小型氣象站也很受歡迎,自動小型氣象站在許多氣象站有什么優勢?事實上,人們對氣象站的印象仍然是一種提醒人們服裝和保暖的儀器和設備。事實上,氣象站設備也可用于農業種植、水文、工業、環保、科研等環境監測等領域,應
小型氣象站又稱室外小型氣象站,主要用于氣象,農業檢測和觀察氣象變化和作物狀況。小型氣象站也是農業局、中國科學院和高等學院的一些儀器設備,適用于農業、環保、海洋、機場等多個場景。小型氣象站型號很多,不同型號的可以監測不同的氣象項目,像是可以監測十種氣象要素的TH-CQX10,TH-CQX8就是可以監測八種氣象要素的一
15666887396
